Chán camera phẳng, Samsung sẽ chuyển sang cảm biến camera nghiêng?
Ý tưởng này xoay quanh việc các camera nằm ở dạng phẳng sẽ nghiêng qua lại để tạo hiệu ứng hình ảnh khi cần thiết.
![]()
Theo xu hướng ngày nay, các mẫu smartphone mới thường được trang bị ít nhất hai hoặc thậm chí lên đến bốn ống kính camera sau để thuyết phục người dùng chi tiền. Điều này đã không còn quá lạ lẫm và trở thành chuẩn mới cho thiết kế điện thoại thông minh hiện đại.
Tuy nhiên, theo một số báo cáo thì Samsung đang muốn bứt phá hơn nữa ở tính năng camera, thay vì chỉ bổ sung thêm một cảm biến mới có phần an toàn. Cụ thể, dựa trên một số bằng sáng chế mới được phát hiện, Samsung có thể đang âm thầm nghiên cứu và hoàn thiện hệ thống camera nghiêng dành cho các thiết bị tiếp theo của mình.

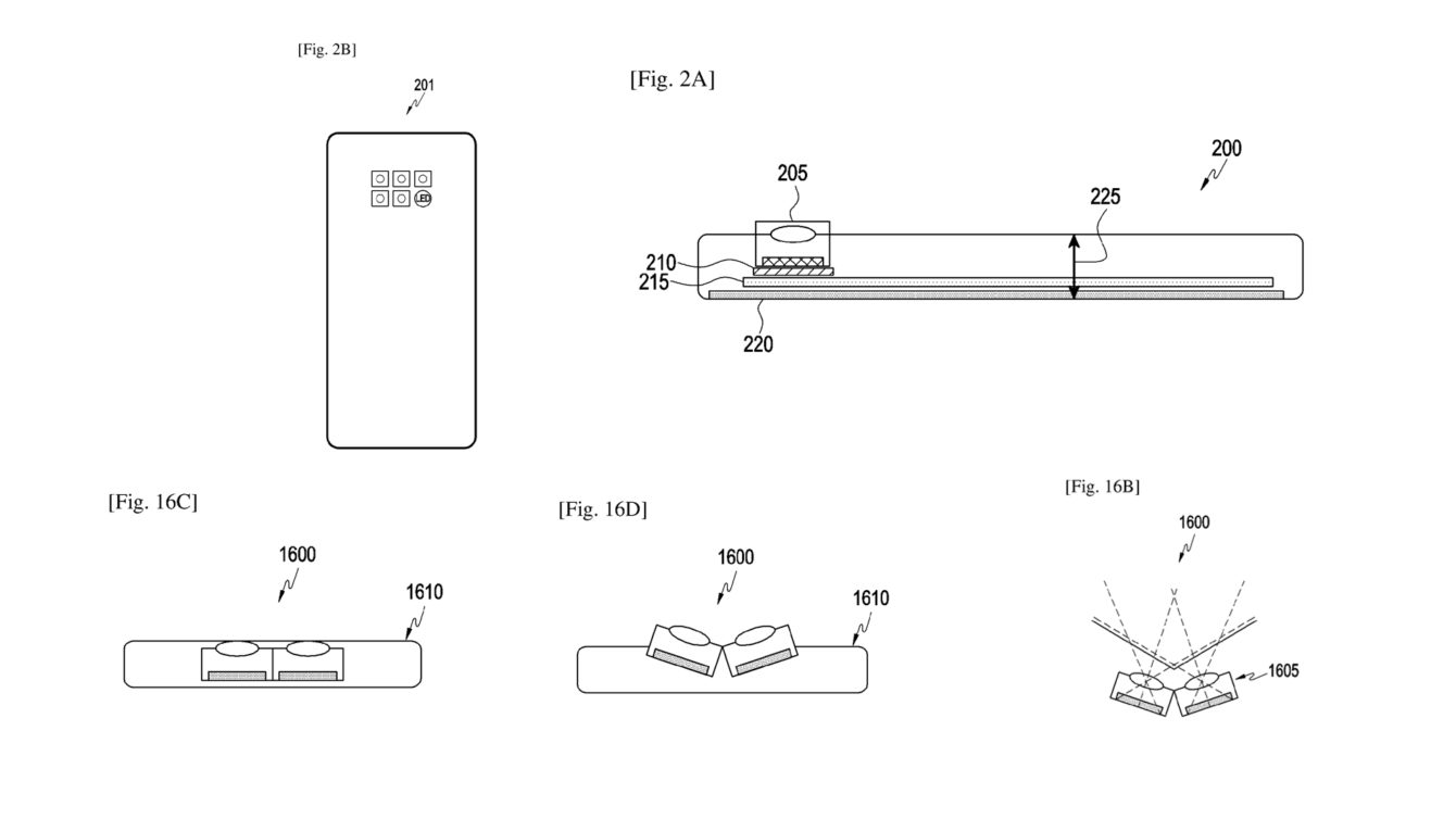
Bình thường, các ống kính sẽ nằm yên ở dạng phẳng, nhưng khi cần thiết sẽ nghiêng qua lại nhằm tạo ra các trường nhìn khác nhau Ảnh: Samsung
Qua hình ảnh thu thập được ở trên, bạn có thể liên tưởng phần nào về những nỗ lực mà Samsung đang thực hiện. Cụ thể, các ống kính sẽ nằm yên ở dạng phẳng nhưng khi cần thiết sẽ nghiêng lên hoặc xuống. Theo lý thuyết, độ nghiêng này nhằm tạo ra các trường nhìn khác nhau và thay đổi loại hình ảnh mà điện thoại chụp được. Ví dụ như hình ảnh cong vênh lạ mắt, gần giống với ống kính mắt cá chẳng hạn.
![]()
Một ví dụ về ảnh sử dụng ống kính mắt cá (fish-eye lens). Ảnh: Anuj Gogari / Unsplash
Điện thoại của bạn có thể lưu giữ những bức ảnh "nghệ thuật" này, hoặc sử dụng thuật toán cắt ghép chúng lại với nhau để tạo ra một tấm hình bình thường. Chúng ta đã từng thấy cơ chế tương tự khi chụp ảnh toàn cảnh (Panorama), nhưng những cảm biến nghiêng này có thể còn linh hoạt hơn nữa.
Dĩ nhiên, các thông tin thu thập từ bằng sáng chế không phải lúc nào cũng tương ứng với các thành phẩm sau cùng. Vì vậy, chúng ta chỉ nên xem cơ chế camera nghiêng này như một ý tưởng thuần túy. Tuy nhiên, Samsung vẫn rất đáng để khen ngợi khi tiếp tục cố gắng tìm tòi những cách thức mới nhằm thúc đẩy những giới hạn mới trên điện thoại di động. Hãy cùng chờ xem liệu họ có thành công trong thời gian tới hay không.
				
			
			
			
		
				
			
 
		Chủ đề Hot
	
				
				
				
				
			
	
	
	
Viết bình luận
Bình luận
Hiện tại bài viết này chưa có bình luận.